Dead Kona EV!

I have a 2019 (USA) Kona and after a long drive (380 miles combined) the next day got a "12v battery voltage low. Stop safely" message on the dash. Next day completely dead. I trickle charged battery and drive to the dealer. They replaced the battery, but I asked for the old battery and bench tested at 2 auto parts store and it tested GOOD 3 times. And now the console screen is cycling on and off, on and off. Should I ask the dealer to see what the "codes" are saying? Could updating the battery management system software maybe fix this? At any rate, I guess I need to join the ranks and buy on a small jump started battery pack as an insurance policy. (not sure if I placing this question in the right place, being unfamiliar with forum norms).
 
I have a 2019 (USA) Kona and after a long drive (380 miles combined) the next day got a "12v battery voltage low. Stop safely" message on the dash. Next day completely dead. I trickle charged battery and drive to the dealer. They replaced the battery, but I asked for the old battery and bench tested at 2 auto parts store and it tested GOOD 3 times. And now the console screen is cycling on and off, on and off. Should I ask the dealer to see what the "codes" are saying? Could updating the battery management system software maybe fix this? At any rate, I guess I need to join the ranks and buy on a small jump started battery pack as an insurance policy. (not sure if I placing this question in the right place, being unfamiliar with forum norms).
Thanks for reminding me to put my battery booster pack back in the Kona...imo the problem with kona charging system it can kept up on especially long drives and definitely in cold weather. When u go start the EV and if the 12v is not where it needs to be, it will either be completely dead or errors. Plug in a booster for a few seconds, in my experience it will start back up and good to go. However charge the 12v asap.
 
the console screen is cycling on and off, on and off
If you are talking about the centrally located infotainment screen, I would try to reset it (little hole by the volume button IIRC- push with paperclip end for a few seconds with the car powered on). It may have been on when the 12V battery was disconnected, and now it went into "stupid mode". If that doesn't solve it, take back to dealer.;)
 
I believe you have identified the problem (or at least one of them) that causes the 12v battery to die. I seem to recall in another forum that the climate controls do not always turn off when the light shows OFF. So whatever causes the climate control to not shut down correctly when the car is turned off, will likely cause a substantial drain on the 12v battery. If the automatic "top up" from the big battery doesn't keep up with the drain, the 12v battery will die.

I recently had my 12v battery replaced on my 2021 Kona under warranty. The service person said he had found that someone with an OBD bluetooth dongle connected all the time, killed the 12v battery because it keeps polling the various systems on the car and hence kept them alive instead of going to sleep. I have since removed my dongle, but since I had it connected for most of the two years that I've owned the car, I doubt that this is really the cause.

When my defective 12v battery was down to something like 7volts, I could hear a sound like a contactor opening and closing. At that point, my trickle charger couldn't charge the battery. The only way to charge it was to disconnect it from the car and then charge it. But it wouldn't hold the charge and was replaced.



Hi All,

I have a 2021 Kona Electric with about 600 miles on it now. I have had the 12v battery go flat twice.
Electric cars aren't new to me and I do have another one which I have had for about 4 years and never had a 12 v battery issue.

I did some further testing and think I may have found out the reason for the 12v battery drain.
The first time it went flat was 4 days when I was out of town and it didn't get driven, I had left the car plugged in but upon my return it would not start. A jump with another 12v battery resolved the issue.

The 2nd time was after just leaving the car 2 days without driving it this time it was not plugged in. I started doing some testing and I think it might be related to the remote start with climate control.
When I do a remote start with climate control (turning on all heating options, I use the preset Winter option), it is usually super early in the morning, around 4:30am and I'm in the car by 4:45am and away. However a couple of time I have set the remote start, and then had to not go anywhere, so I did a remote stop of the car and got the confirmation that climate had turned off.

The other day I did a remote start in the morning, ended up not driving and then that night I noticed that windows had fogged up, expect for a couple of small patches on the front window. Upon investigating and doing further tests it appears that when Remote Start Climate Control Stops on its own, or you send the Stop command it doesn't seem to truly turn off.

Below you will the spots on my windshield, along with what the vehicle status is via the BlueLink App.

You will notice that while climate control has turned off (yellow light is also no longer on at the front of the car) the Front Defrost is still on. I suspect this is draining the 12v battery. The car appears silent, the fan isn't running and there are no lights on inside the car.

The 2nd image shows the area where the Front Defrost appears to be on.

Unlocking and starting the car and turning it off again seems to turn off the Front Defrost.

I have not had a chance to call the dealer yet, but will do that next week.

Just wanted to mention this here incase this could be the cause???
Would be great if some others could test this theory out.

Thanks



View attachment 10691

View attachment 10692
 
I've had Cortana (2022 Kona Ultimate 16000km) die on me three times. After reading this and the other threads I can predict when it's going to happen. On latest Canadian software. If HV battery is under 40%, 12V will die in just over 24h.

Dropped the Kona off at the dealer Sunday at 33% for appointment Tuesday am. Also getting gear reduction fluid changed per these forums.

Low-and-behold, this morning when they tried to get the car, it was dead. Just to make sure they couldn't say I was wrong. Tech asked to keep it for another day to try and replicate it. Let's see what they say tomorrow.
 
I picked up Cortana today, glad to have her back after a few days. Tech has no idea what's going on. Tried fully charging the 12v. Said if it happens again to bring her back. I told them if it happens again I'm going to get them to roll back the (April?) software update.
 
Did they complete the gear oil change and were there any comments about that?

I was at the dealer today to get the annual safety inspection our government requires and was told I have three outstanding TSBs. One is yet another "VCULDC Control Logic Improvement" update (which includes 12V battery charging) and the other is the kickoff for the traction battery replacement.

Do you have a BM2 to monitor the 12V battery? It's worth its weight in gold for identifying 12V battery issues.
 
Did they complete the gear oil change and were there any comments about that?

They completed the change. The tech said that the fluid was grayish, but that it was normally almost that color new. Maybe they've fixed the issue on the 2022+ models?

Do you have a BM2 to monitor the 12V battery? It's worth its weight in gold for identifying 12V battery issues.

I don't have a BM2, but I have an ODBII dongle as well as the sensors setup through Home Assistant. Should give me ample info.
 
... The tech said that the fluid was grayish, but that it was normally almost that color new...
The original colour as described by Hyundai is "clear brown".
upload_2022-10-14_8-42-18.webp
 
So... Got out to Cortana this morning and she was almost dead. I was able to unlock the doors once and that's it, wouldn't start. Called service, waiting for a call back. This is the shortest amount of time that it's taken to die. She was only parked for 14hrs.
 
So... Got out to Cortana this morning and she was almost dead. I was able to unlock the doors once and that's it, wouldn't start. Called service, waiting for a call back. This is the shortest amount of time that it's taken to die. She was only parked for 14hrs.
Couple of questions....
(1) what was the xisting SOC of the main battery (HV pack)
(2) was the vehicle plugged in and charging
(3) what was the ambient temperature
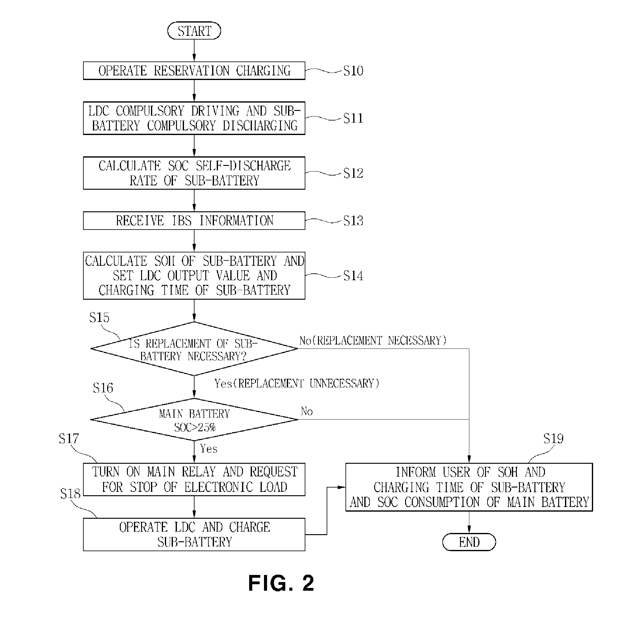
Relative quotes from this Hyundai patent :
" the LDC controller may set the LDC output voltage and the sub-battery charging time (or LDC operation time charging the sub-battery) according to the SOH of the sub-battery (S14), and then may determine whether or not the SOC of a main battery is sufficient to charge the sub-battery"
"When determining whether or not the sub-battery needs to be replaced, the charging time and the SOH of the sub-battery and the SOC consumption of the main battery due to the periodic charging of the sub-battery may be used."
" since there are many related parameters, such as electronic loads of a vehicle, charging/discharging frequency of the sub-battery, and temperature of the sub-battery"
Regarding that last quote, I have experienced a dead battery (4.7V) once, on my 2019 MY when a hung Bluelink command queried overnite. It was a command to reset the service interval...of all things. I have not enabled on my 21 MY, and have had no 12V issues.
There has been another report of an EVSE not communicating with the on board charging protocol, and killing the accessory battery as well.
This flow chart does give an indication of a "minimum" SOC of the HV pack (above 25%) required to initiate the charge cycle:
US09413182-20160809-D00002.png
 
Last edited:
SOC was at 22%, but, I've left it that low before and never had any issues.
According to the flow chart, the recharge cycle will not operate;)
Manually recharge the 12V battery using a battery charger, enough to start vehicle (it won't take long probably 10 minutes). Start vehicle then leave in utility mode for ~2-3 hours, lastly recharge main pack above 30% minimum.
Keep an eye out for the yellow light on the Hyundai badge in the front, it should come on ~.5 hours after a drive, again at ~2 hours later, then resort to 4 hour recharge cycles. Better yet install a BM2 monitor if you don't want to monitor the indicator light.
 
Last edited:
... VCULDC update C00D111 , which improved the frequency of 12V DC charging...
This update finally showed up this week and I'm booked for it in 2 weeks. I can hardly wait to see the differences because I'm certainly seeing wider 12V battery voltage excursions now that it's 4 years old and struggling more.
One trick I've acquired is to place the car in Utility Mode when I park it in the dealer's microscopic service lot to ensure that it's in the highest possible SoC when they leave it for hours with the hood open. I mentioned that it was in this mode to the service admin when I checked it in and of course she looked at me like I was from Mars.
 
Little bit of a late update. Dealer replaced the 12V. Seems to be working fine, however, I haven't let her get below 40% SoC since. We'll see what happens this week as I'm at 45% and don't plan on charging until Sunday.
 
You're going to cook that LFP into either a useless lump of mixed noble metals or a
firestarter, because the Kona's DC/DC assumes that lead-acid chemistry is attached
and is much less sensitive about overcharge at sustained high float voltages.

_H*

I read on another part of this forum that the Kona Electric uses a calcium lead-acid chemistry.
This means it requires a higher charge voltage (up to 16V for a short time) to get maximum life.

Also, the BMS on a LFP battery low voltage disconnects into sleep mode when any cell voltage gets too low.
This makes jump starting more tricky. You have to remove all loads and let it rest for a fair amount of time before jumping the battery (still disconnected from the car) to wake it up. A current limit device might be needed.
 
It appears our 12v battery has died, 2019 Ultimate Dec 2018 build date. We went shopping yesterday and after our first stop it came up with a "12v battery error, pull over asap", but the error cleared itself and we carried on to the next stop. There the battery completely died, should have went straight to a battery store. We hooked up our little lithium jump battery and that started the car but it only lasted a few minutes and then that died as well.

The Hyundai dealer is 20kms away but Canadian Tire was just across the street so over I went only to find that the clerk needs to see battery to try and match it, they don't have an actual listing for the KONA EV. Removed the battery, took it to CT only to be told by a different clerk" we don't stock that size", expletive deleted!:mad: Up the street a few blocks is a stored called All Battery so we called them and more or less got the same story of having to see the battery to try and match it, thought about it for a few minutes and called a cab. As luck would have it they had one battery the same footprint but a 3/4 inch taller so I grabbed it and ran as the cab was waiting for us. The extra height makes it a tight fit but it works, the only thing is the cap for the negative terminal doesn't fit the new battery.The store is going to charge and test the old battery to make sure it's the battery and not the car charging system that's at fault but as of now there are no errors and car seems fine.

The new battery is a :
Polar Automotive 26R-550SW
600CA 550CCA 90R/C

The car does it's regular 4 hour top up routine and the problem of the 12v dying hasn't been a problem for a long time.

My big questions here are, why didn't we get any pre-warning that the battery was duff if it is duff? If not duff, why did the battery not get charged on the 40 min drive before this occurred? I'd hate for this to have happened in the middle of nowhere....
 
It just happens. The battery gets discharged and recharged a number of times, and then it's done. You replaced it, and now it'll be good to go (hopefully for more than the 2-3 years that many of us got out of our OEM batteries.)
 
Back
Top