MMH
New Member
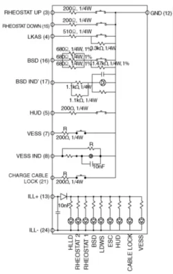
In Europe, they have two switches where we have one, the bottom one being the VESS switch... it would be nice if we could just order, and (somehow) install, that double switch! (I realize that it probably would be the whole panel of switches one would have to order and that probably ordering that or the double switch is wishful thinking!... Hyundai's warranty could/may also be jeopardized...)I contemplated the momentary contact switch/ 200 ohm resistor to ground (pins 7 and 12) approach and still might do it, but the easiest way I can see would be to splice on to existing wiring on the 24 pin connector attached to the button unit. This would of course involve removing a portion of the lower dash to access .

